Schuifruiten beslag 2500 mm – Compleet systeem met optioneel glas
De schuifruiten beslag set 2500 mm (Slido F-Line14 25A) is een compleet railsysteem voor twee glazen schuifpanelen of spiegelpanelen.
Dit systeem is geschikt voor glasdikte 6 mm en wordt geleverd inclusief alle benodigde rails en loopwerken.
Optioneel kun je direct glas of spiegel op maat meebestellen, zodat je een complete oplossing hebt in één bestelling.
De aluminium rails zijn geanodiseerd en uitgevoerd in een matte afwerking.
Geschikt voor
- 2 glazen schuifpanelen in één nis
- Spiegelpanelen (6 mm)
- Gehard glas of gelaagd glas (33.1)
- Kasten, nissen en scheidingssystemen
Voor meer informatie en montage instructies Klik hier: montage handleiding
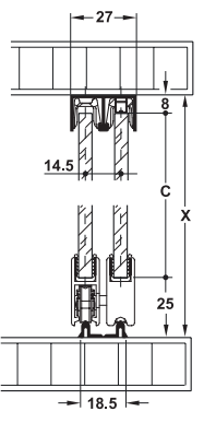
Bereken zelf eenvoudig de netto glasmaat voor de 2 glaspanelen in een nis :
X – Inbouwhoogte van de strak gemeten binnenmaat kast/nis minus 33mm (25+8) = ….MM
IA – Inbouwbreedte van de strak gemeten binnenmaat kast/nis plus 30mm gedeeld door 2 = …. MM
Dit is inclusief de aftrek en de overlap van de 2 ruiten = te bestellen netto glasmaat hoogte en breedte maat.


- Glasbovenaanzicht – Berekening: C = X – (25+8)
Geschikt voor 2 glaspanelen in 1 nis
IA = strak gemeten nismaat breedte
D = Breedte glaspaneel
G = Overlap breedte 30mm
F = voeg 2.5mm

- Inhoud set
Lengte rails per 2500mm- A 1X Dubbel geleiderail, boven (H.415.10.925)
Dubbele bovenrails, 27mm breed, 15mm hoog - B/C 1X Dubbele looprail, onder (H.415.11.925)
18,5mm breed, 6.5mm hoog - D 2X Loopschoenrail voor bevestiging van loopwerk op de glazen deur (H.415.12.652)
11.5mm breed, hoogte 28,5mm. H profiel voor het glas en de looprollers - E 1X Klemrubber (H.415.13.622)
Loopschoen inleg U-profiel om in de loopschoenrail te schuiven - G 4X looprollers (loopwerken 2 per glaspaneel) (H.415.13.103)
Looproller in onderste deel van de loopschoen - F 6x Uittrekbeveiliging (voorkomt dat het glas eruit getild kan worden) (H.415.13.050)
- O 1x Montagehulp om loopwerk (rollers) te monteren (H.415.13.060)
- A 1X Dubbel geleiderail, boven (H.415.10.925)
ACCESSOIRES MEE TE BESTELLEN:
M – EINDSTUK (H.415.13.020)
H – EINDGREEPJE (H.415.13.010)
L – DRUK SLOT (H.233.02.420) Schuifruit drukslot voor in loopschoen. Voor dubbele schuifruit.
Toelichting toepassing Drukslot: indien gesloten komt de overlap van de andere ruit precies voor het slot,
door 5.5mm gaatje te boren in het onderste deel van de loopschoen komt de pen van het drukslot daarin.
voor verdere instructies klik hier: montage-handleiding

Montage & aandachtspunten
- Zorg voor een vlakke en stabiele ondergrond
- Controleer maatvoering en speling vooraf
- Gebruik uittrekbeveiliging voor veiligheid
- Glas niet spanningsvrij monteren
Belangrijk
Dit systeem wordt vaak gecombineerd met maatwerk glas.
Controleer altijd de opgegeven maten vóór bestelling.






















